目次
1.メニューを選択する
2.作成画面を開く
3.面談記録を作成する
4.面談結果報告書・意見書を作成する

産業保健職画面について、ご説明の動画をご用意しております。
ご参照くださいませ。
■産業医面談記録/面談結果報告書・意見書を作成する
1.メニューを選択する
確認したい担当企業名をクリックし、面談予定・過去履歴が確認できる画面を開きます。
・これからの面談予定の場合:ホーム画面の「これからの面談予定」
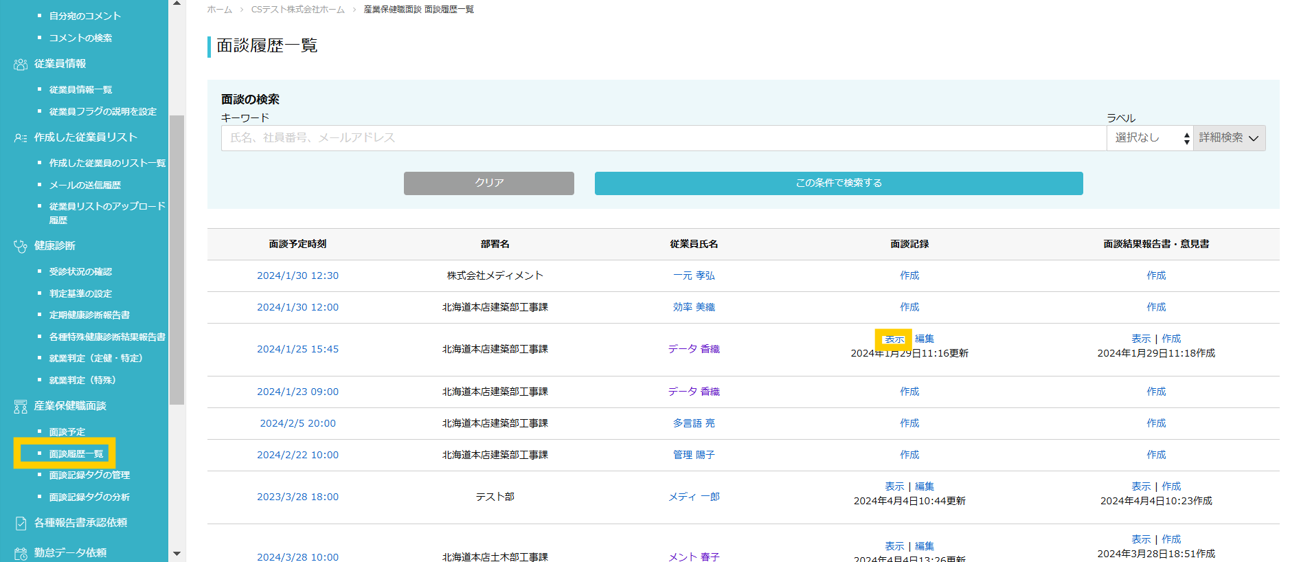
・過去日付の面談の場合:左メニューの産業保健職面談>面談履歴一覧
2.作成画面を開く
該当従業員の「面談記録」または「面談結果報告書・意見書」欄の作成ボタンをクリックします。
3.面談記録を作成する
「面談記録を作成」をクリックし、作成画面を開きます。

作成画面に従い、入力し、公開か非公開を選択し、保存します。

「保存」をクリックし、画面右上部に「面談記録を作成しました」が表示され、作成完了となります。

作成された面談記録は、後から確認・表示が可能です。

4.面談結果意見書・報告書を作成する
画面右下の「意見書を作成」をクリックします。
「意見書を作成」 を押下すると、フォーマットを選択することができます。
方法① medimentで作成
方法② 独自のファイルを添付


画面に従い、記録を入力し、作成が完了したら[保存]をクリックし、保存します。
画面右上部に「意見書を作成しました」が表示され、作成完了となります。
作成した意見書は、産業医面談>面談履歴一覧より確認することが可能です。
・「medimentで作成」を選択した場合、面談履歴から再閲覧する場合は「表示」ボタンより確認可能です。
・「独自のファイルを添付 」を選択しファイル添付をした場合、「PDFを表示」ボタンより確認可能です。

この記事は役に立ちましたか?
それは素晴らしい!
フィードバックありがとうございます
お役に立てず申し訳ございません!
フィードバックありがとうございます
フィードバックを送信しました
記事の改善におけるご協力ありがとうございます。